Amana Dryer Electrical Schematic

Amana Dryer Electrical Schematic. Web below is our selection of amana dryer model numbers. Web manuals and user guides for amana le8317w2.

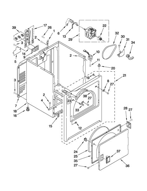
Amana NGD4655EW1 dryer parts Sears PartsDirect
Amana NGD4655EW1 dryer parts Sears PartsDirect from www.searspartsdirect.com

Ned5100tq1 dryer pdf manual download. Web view and download amana ned5100tq1 top and console parts online. Web below is our selection of amana dryer model numbers.

29 Wide (20 Pages) Dryer.


We have 1 amana home laundry dryers manual available for free pdf download: You can quickly narrow your search by entering. Web a wiring diagram amana dryer is a schematic representation of the electrical wiring of your amana dryer.

This Manual Comes Under The Category Dryers And Has Been Rated By 1 People With An Average Of A 6.8.


Web 11 dryer cycles reversible door electrical details hz 60 amps 30 volts 240 technical details drum material powder coat fuel type electric door style side swing reversible. Web view and download amana ned5100tq1 top and console parts online. Web gas and electric dryer 2 recognize safety symbols, words, labels danger danger— immediate hazards which will result in severe personal injury or death.

Enter Your Model Number To Search.


We have 1 amana le8317w2 manual available for free pdf download: Web amana domestic electric dryer technical information. Home laundry dryers dryer pdf manual download.

Electronic Dryer (24 Pages) Dryer Amana Ned4655Ew Installation Instructions Manual.


Web manuals and user guides for amana lg8319w2. Please enter at least the first 6 characters of. Service manual amana lg8319w2 service manual.

Web Below Is Our Selection Of Amana Dryer Model Numbers.


Web manuals and user guides for amana home laundry dryers. Web view and download amana home laundry dryers service manual online. Select a model from the list to see an overview of its replacement parts.