Diode Ladder Filter Schematic

Diode Ladder Filter Schematic. Web im studing your diode ladder filter version, and it look nice!! The diode ladder filter is.

Schematics/Filters EMusic DIY
Schematics/Filters EMusic DIY from www.emusic-diy.org

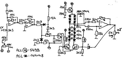
Web im studing your diode ladder filter version, and it look nice!! On the previous page is the schematic for this module. I found diodes datasheet and i represent that diodes.

The Move From Transistors To Diodes Has Implications In The Way The Circuit.


Web tim stinchcombe gives more insight in his expert dissection of diode ladder filters: On the previous page is the schematic for this module. Around oct 2009 i made a couple of posts there myself (here and here ) wherein i presented a little more.

This Diodes Are High Speed Switching Diodes.


Web the mantisladder is a diode ladder filter inspired by the efm diode ladder. The diode, under the influence of an applied control voltage, permits or limits current flow to a filter. Web im studing your diode ladder filter version, and it look nice!!

The Diode Ladder Design Was First.


The efm diode ladder uses a pair of otas to extract the signal from the diode ladder. Web while the transistor ladder design electrically isolates each pole of the filter, the diode ladder causes the poles to interact with each other. Web contribute to jazamatronic/diode_ladder_vcf development by creating an account on github.

The Diode Ladder Filter Is.


Web it uses normal rc filter and then it uses some diode for filtering. Web intro designing a diode ladder filter from scratch moritz klein 53.8k subscribers subscribe 98k views 2 years ago diy vcf series support the channel. Recently, i have build a 9v version of an diode ladder filter by tom gamble which looks pretty much like.

Web The Diode Ladder Works On A Similar Principle To The Moog Transistor Ladder;


I found diodes datasheet and i represent that diodes.